



Шестірня КОМ відома (внутр) ЗИЛ-130 Z-18 АМО ЗІЛ / 555-4202064
- Готово до відправки
- Код: 555-4202064
838 ₴
- +380 (67) 722-83-83 Київстар
Шестірня КОМ відома ЗИЛ-130 Z-18 АМО ЗІЛ / 555-4202064
Коробка відбору потужності являє собою механічну коробку передач, тип і характеристика якої залежать від призначення того обладнання, яке вона приводить у дію. Відповідно до кількості додаткового обладнання на одному ТС може бути встановлене від однієї до трьох коробок добору потужності.
Коробки добору потужності розрізняються за кількістю ступенів і значенням передавальних чисел, кількістю й взаємним розташуванням валів, наявності або відсутності реверсу та типу привода керування. Залежно від навантаження додаткове обладнання коробки добору потужності передають до 40% максимальної потужності силового встановлення. Стандартами визначені основні розміри кріпильних місць і модулі зубчастих коліс коробок відбору потужності.
Коробки добору потужності зазвичай монтують збоку або з торця на картрах КП або роздавальних коробок у верхній або нижній їх частинах. Провідні ланки коробки добору потужності через люки агрегатів трансмісії з'єднуються з деталями цих агрегатів, від яких і походить відбір потужності.
Передавання потужності може здійснюватися від шестерні агрегата трансмісії на тягову шестерню коробки добору потужності. Обидві шестерні перебувають у постійному зачіпленні один з одним, і ввімкнення відбору потужності здійснюється рухомою кареткою, яка вводить в зачеплення зуб'яча шестерень у коробці відбору потужності. Потужність може відбиратися й від валу агрегату трансмісії. У цьому разі коробка відбору потужності кріпиться на торці картера агрегату трансмісії, а її провідний вал розташовується співосно з валом, від якого відбирається потужність.
Вмикання коробки добору потужності здійснюється зубчастою муфтою, що з'єднує обидва вали, без навантаження на коробці. Коробкою відбору потужності керують з кабіни ТС. Привод керування може бути механічним, пневматичним, електропневматичним тощо.
Спосіб змащування деталей коробки добору потужності визначається місцем її кріплення до агрегату трансмісії. За бічного кріплення мастило розбризкується на деталі коробки з картера основного агрегату або власного картера. Під час верхнього кріплення в конструкції коробки добору потужності передбачений насос, який забирає мастило з картера агрегату трансмісії та подає її до деталей коробки.
Реверсивна коробка добору потужності з редуктором і поздовжнім розташуванням валів встановлюється на нижній бічній частині картера КП. Відбір потужності здійснюється від шестерні проміжного вала КП, з якою постійно зчеплена одна із шестерень блока 11. Інша шестерня цього блока міститься в зачепленні з проміжною шестернею. Блок шестерень і проміжна шестерня 9 встановлені на осях, закріплених на мапі.
Ведомий вал 7 коробки добору потужності обертається на двох кулькопідшипниках 6. На шліцах цього вала за допомогою вилки перемикання переміщається каретка 5 з зубчастим колесом. Вилка 3 перемикання закріплена на рухомому штокі 2, пов'язаному з важелем 1 ввімкнення коробки добору потужності, встановленим у кабіні ТС. Важіль має три фіксовані положення. Фіксація штока здійснюється кульковим фіксатором 4 з пружиною. У правому положенні штока каретка з зубчастим колесом
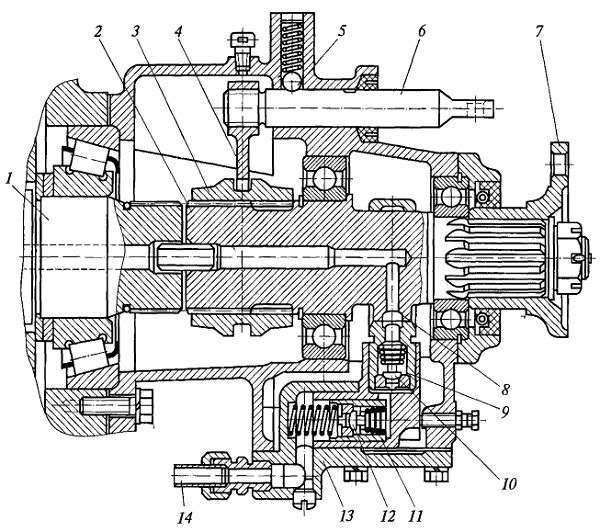
Рис. Коробка отбора мощности без редуктора:
1 — первинний вал роздавальної коробки; 2 — вал коробки отбора мощности; 3 — каретка; 4 — вилка увімкнення; 5 — фіксатор із пружиною; 6 — шток вилки увімкнення; 7 — фланець; 8 — ексцелітрик; 9 — плунжер; 10 — нагнітальний клапан; 11 — зворотний клапан; 12 — всмоктувальний клапан; 13 — крышка коробки отбора мощности; 14 — магістраль подавання оливи до насоса
є в зачепленні з проміжною шестернею, що забезпечує передавання прямого ходу. У лівому положенні штока зубчасте колесо зчеплене з більшою шестернею блока 11, що забезпечує передавання зворотного ходу. У середньому положенні штока коробка добору потужності вимкнена, і відовий вал не обертається. На кінці відового вала є фланець 12 для кріплення вала приводу додаткового обладнання.
Крім розглянутої коробки, відбір потужності з редуктором застосовуються й простіші за конструкцією коробки без редуктора, що забезпечують один щабель із передавальним числом 1,0. Відбір потужності здійснюється від первинного валу 7 роздавальної коробки, що має на кінці шліци. Коробка добору потужності кріпиться до торця картера роздавальної коробки у верхній її частині. Вал 2 коробки добору потужності на одному кінці має такі ж шліци, як і в вала 7, а на інший його кінець встановлюється фланець 7 кріплення вала приводу додаткового обладнання. Вмикання коробки добору потужності здійснюється блокуванням валів 1 і 2 за допомогою каретки 3, Каретка переміщається вилкою увімкнення 4, закріпленою на штоці, що має два фіксовані положення: у лівому положенні штока коробка відбору потужності увімкнена, а у правому вимкнена. Зміна напрямку обертання вала коробки добору потужності відбувається під час увімкнення передавання ЗХ у коробці передач.
Особливістю конструкції цієї коробки добору потужності є наявність плунжерного насоса, який слугує для змащування деталей коробки добору потужності та роздаваної коробки нерухомого ТС під час додаткового обладнання, що працює. Насос розміщений у корпусі, встановленому у приливі кришки 13 коробки добору потужності, складається з плунжера Я нагнітального 10, що всмоктує 12 і зворотного 11 клапанів. Привод насоса здійснюється від ексцентрика, розташованого на валу коробки добору потужності. Олія надходить у насос магістралі 14 з картера роздавальної коробки та під тиском подається до деталей коробки добору потужності та первинного валу роздаваної коробки.
Керування цією коробкою здійснюється важелем; пов'язаним зі штоком 6 і встановленим у кабіні ТС.
| Основні атрибути | |
|---|---|
| Тип техніки | Вантажний автомобіль |
| Тип запчастини | Оригінал |
| Стан | Новий |
| Виробник | Укрметалтрейд |
| Країна виробник | Україна |
| Гарантійний термін | 1 міс |
| Код запчастини | 555-4202064 |
| Користувальницькі характеристики | |
| Марка | ЗІЛ |
| Модель | 130 |
- Ціна: 838 ₴



